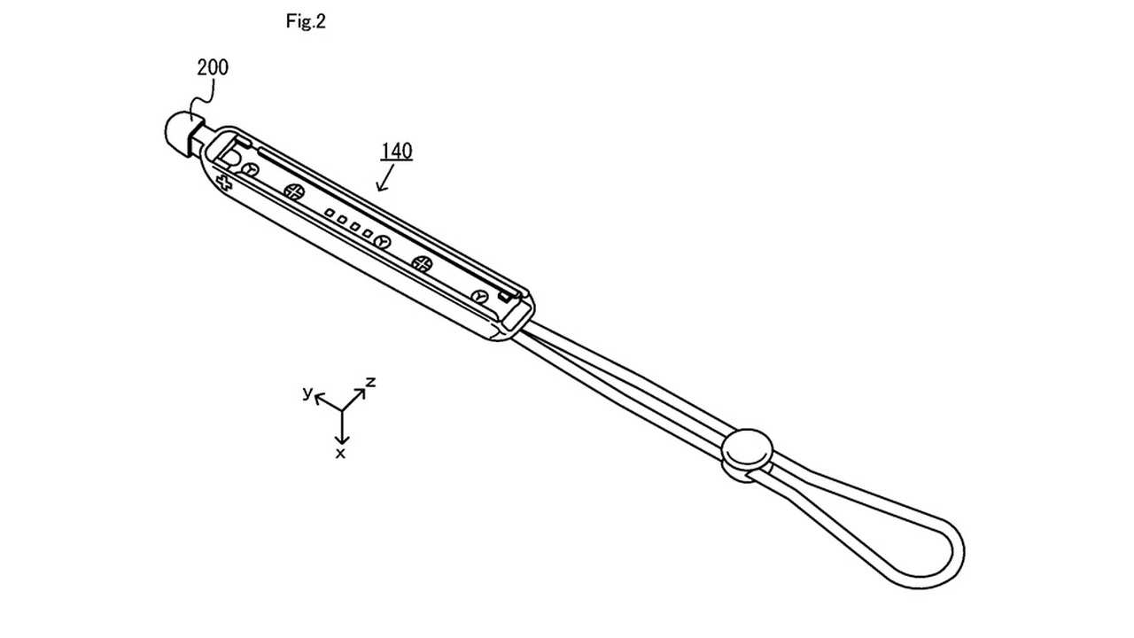
Η Nintendo κατοχύρωσε μια νέα πατέντα που αφορά ένα νέο Joy-Con Attachment που καταλήγει σε Stylus. Για να το πούμε απλά, πρόκειται για μια νέα έκδοση του κλασικού «καπακιού» που τοποθετείται στα Joy-Cons της κονσόλας όσο αυτά δεν είναι συνδεδεμένα στο κύριο σώμα. Η πατέντα καταχωρήθηκε από την ιαπωνική εταιρεία στις αρμόδιες Αρχές των ΗΠΑ στις 16 Ιανουαρίου 2020 και διάφορα σχήματα δείχνουν το πως θα μπορούσε να χρησιμοποιηθεί το νέο αυτό περιφερειακό. Συγκεκριμένα, μπορεί να δουλέψει και σε συνεργασία με το HD Rumble, αλλά και όλες τις άλλες λειτουργίες των χειριστηρίων. Δείτε παρακάτω και βγάλτε τα συμπεράσματά σας.



Τρεις μήνες με το Huawei Watch GT6 Pro: το gadget που άλλαξε τις συνήθειές μου
Για την καλύτερη εμπειρία σου θα θέλαμε να σε παρακαλέσουμε να το απενεργοποιήσεις κατά την πλοήγησή σου στο site μας ή να προσθέσεις το enternity.gr στις εξαιρέσεις του Ad Blocker.
Με εκτίμηση, Η ομάδα του Enternity