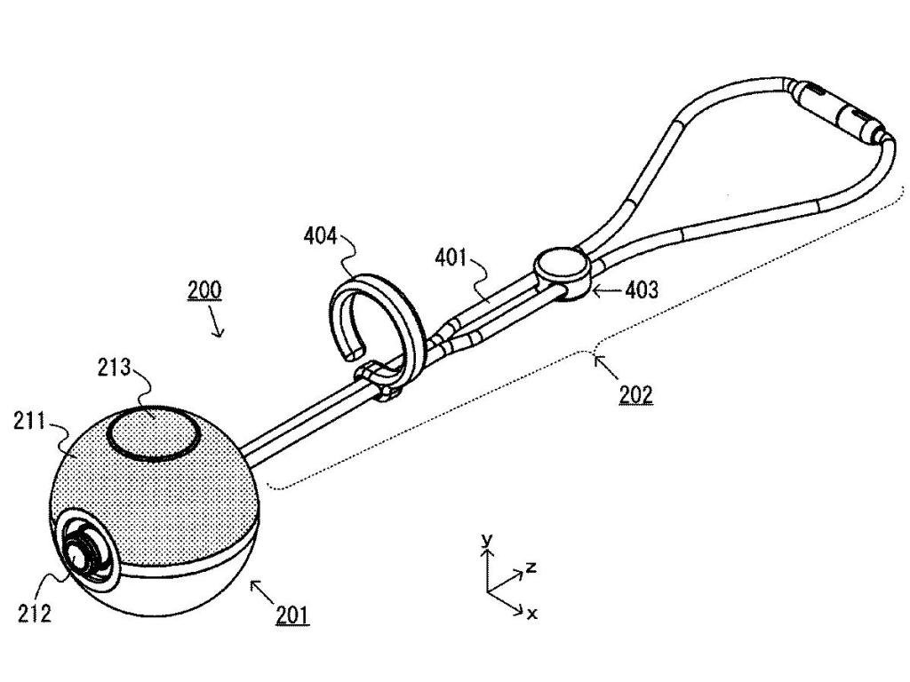
Τις ελπίδες των fans ήρθαν να αναπτερώσουν, όμως, μερικά σχέδια που βγήκαν στη δημοσιότητα, τα οποία αποκαλύπτουν πέντε διαφορετικές ευρεσιτεχνίες για το Poke Ball Plus, χωρίς όμως να γίνονται και πλήρως ξεκάθαρες οι νέες αλλαγές. Είναι, λοιπόν, κατανοητό πως τίποτα από όλα αυτά δεν επιβεβαιώνει κάποια αναβαθμισμένη έκδοση του Poke Ball Plus, δημιουργώντας όμως ταυτόχρονα και μία υπόνοια για την πιθανή του επανεμφάνιση στο μέλλον.

Τρεις μήνες με το Huawei Watch GT6 Pro: το gadget που άλλαξε τις συνήθειές μου



Για την καλύτερη εμπειρία σου θα θέλαμε να σε παρακαλέσουμε να το απενεργοποιήσεις κατά την πλοήγησή σου στο site μας ή να προσθέσεις το enternity.gr στις εξαιρέσεις του Ad Blocker.
Με εκτίμηση, Η ομάδα του Enternity