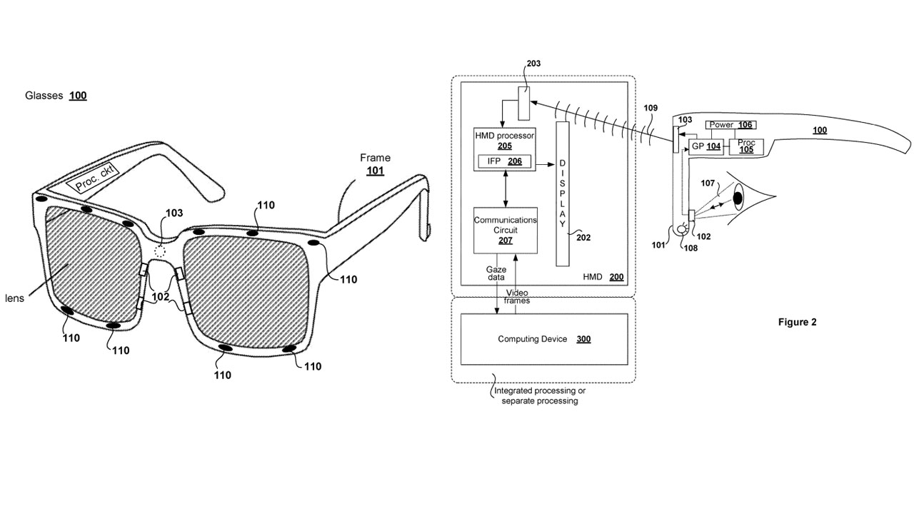
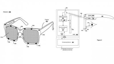
Όσοι φορούν γυαλιά έχουν αντιμετωπίσει κατά καιρούς προβλήματα με VR headsets και η Sony θέλει να δώσει οριστική λύση με μια νέα πατέντα που καταχώρησε τον Δεκέμβριο του 2017. Πρόκειται για μια τεχνολογία που θα ενσωματώνεται σε γυαλιά και θα επιτρέπει σε αυτά να καταγράφουν και την κίνηση του ματιού του κατόχου τους. Κατόπιν, τα γυαλιά με το που θα τοποθετούνται εντός ενός VR headset (πιθανότατα του PlayStation VR) θα συγχρονίζονται, θα ανταλλάζουν δεδομένα και θα προσφέρουν όλες τις δυνατότητες χρήσης, χωρίς να προκαλούνται αισθήματα ζαλάδας στον χρήστη και χωρίς να υπάρχουν αντανακλάσεις. Τα γυαλιά θα έχουν στο σκελετό τους κάποια ηλεκτρικά τμήματα, όπως infrared LEDs που θα βοηθούν περισσότερο και στο κομμάτι του εντοπισμού τους εντός του VR headset. Όπως φαίνεται, η Sony έχει εντοπίσει ένα σημαντικό πρόβλημα που αποτρέπει κάποιους χρήστες από το να απολαύσουν τα προϊόντα της και ψάχνει να βρει οριστική λύση. Και δεν είναι απίθανο να καταλήξει και σε συνεργασία με κάποιον κατασκευαστή για να προτείνει έτοιμη τη λύση σε όποιον τη χρειάζεται.

Αναστάτωση στα ελληνικά «πειρατικά» sites τις τελευταίες ημέρες
Για την καλύτερη εμπειρία σου θα θέλαμε να σε παρακαλέσουμε να το απενεργοποιήσεις κατά την πλοήγησή σου στο site μας ή να προσθέσεις το enternity.gr στις εξαιρέσεις του Ad Blocker.
Με εκτίμηση, Η ομάδα του Enternity