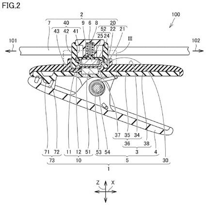
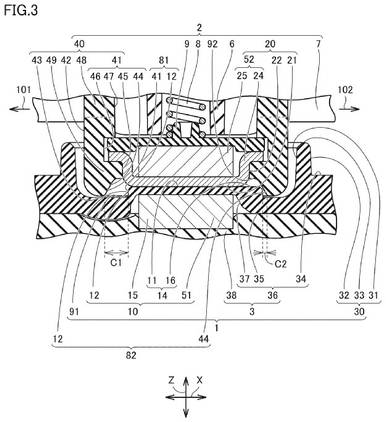
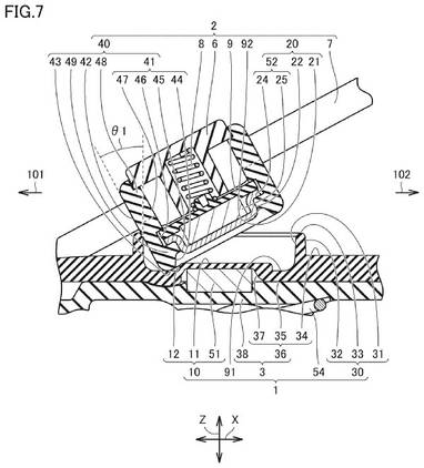
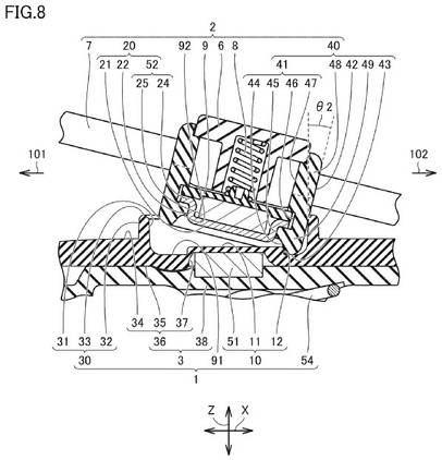
Όπως φαίνεται, η Nintendo καταχώρησε μια πατέντα που υποστηρίζει ένα διαφορετικό setup για το Nintendo Switch 2, με την κονσόλα να περιστρέφεται γύρω από ένα μαγνητικό σημείο σύνδεσης. Φαίνεται λοιπόν πως η Nintendo σκέφτεται μια υλοποίηση κοντά στα δεδομένα της διπλής οθόνης των προηγούμενων φορητών.
Κατά πάσα πιθανότητα, όλο αυτό θα συνδέεται και με κάποιο ειδικό λογισμικό που θα χωρίζει την οθόνη στα δύο. Αν όλα αυτά καταλήξουν σε ένα project, μένει να δούμε τους λόγους αυτής της απόφασης, αλλά και πόσο θα στηριχτεί όλο αυτό από παιχνίδια του παρελθόντος και όχι μόνο.








Tsamba_Gamer: Forza Horizon 6, Red Dead Redemption 2 και άλλα δωρεάν games



Για την καλύτερη εμπειρία σου θα θέλαμε να σε παρακαλέσουμε να το απενεργοποιήσεις κατά την πλοήγησή σου στο site μας ή να προσθέσεις το enternity.gr στις εξαιρέσεις του Ad Blocker.
Με εκτίμηση, Η ομάδα του Enternity