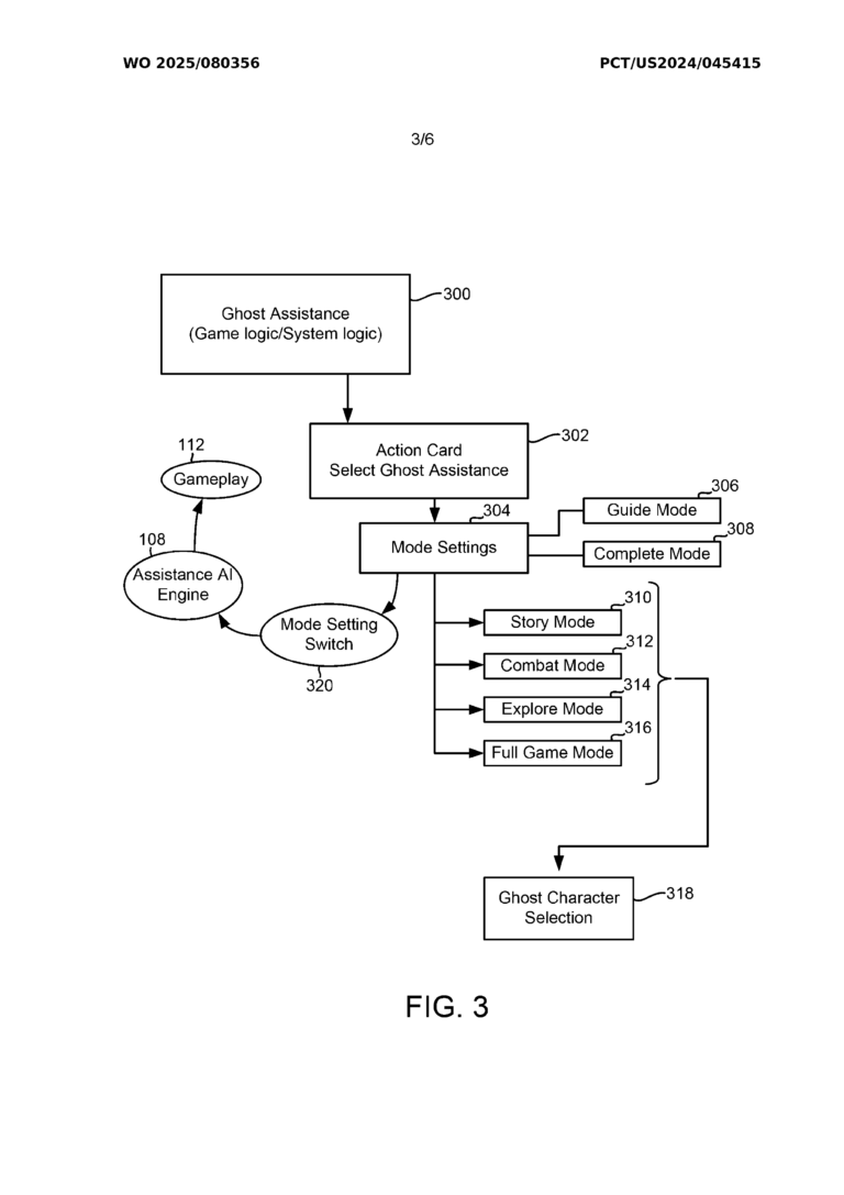
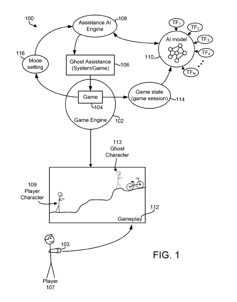
Θα μπορείτε για παράδειγμα να αφήνετε την ΑΙ να καθοδηγεί τον Nathan Drake να λύνει ένα γρίφο στο Uncharted για να προχωρήσετε παρακάτω, αν έχετε κολλήσει. Η πατέντα της Sony κατατέθηκε τον Σεπτέμβριο 2024 και δημοσιεύτηκε πρόσφατα από τον WIPO, με το AI να εκπαιδεύεται σε υπάρχον gameplay footage αντί για προ-εγγεγραμμένα inputs, ως εξέλιξη του PS5 Game Help που δίνει οδηγίες μέσω εικόνων ή βίντεο.
Παρόμοιες λειτουργίες βοήθειας υπάρχουν ήδη σε πολλά games με hints, skip ή ευκολότερη δυσκολία, αλλά τίτλοι όπως το God of War Ragnarok έχουν επικριθεί από κάποιους για τις υπερβολικές υποδείξεις.


Tsamba_Gamer: Need for Speed Unbound, Total War: THREE KINGDOMS και άλλα δωρεάν games



Για την καλύτερη εμπειρία σου θα θέλαμε να σε παρακαλέσουμε να το απενεργοποιήσεις κατά την πλοήγησή σου στο site μας ή να προσθέσεις το enternity.gr στις εξαιρέσεις του Ad Blocker.
Με εκτίμηση, Η ομάδα του Enternity